N58是一款基于展锐平台的4G工业级模块。该工业级高性能通信数传模组,支持GSM、FDD-LTE 、TDD-LTE (Cat1)网络模式,具有丰富的硬件接口,支持音视频功能和BT无线连接,可选支持GNSS,易于开发,适用于各种场景。
⚫ ARMCortex-A5处理器,500MHz主频,32KBL1缓存
⚫ 支持网络制式:GSM/GPRS&& LTECat1
⚫ 支持USB2.0 /USIM/ADC/UART/SDIO/SPI/I2C/ GNSS(可选)
N58包含多个型号,各个型号版本及支持频段及如下所示:

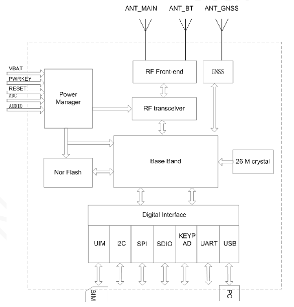
N58模块共192个管脚,焊盘采用LGA+LCC封装,模块尺寸仅为30mm*28mm*2.6mm,具有工业级高性能,适用于开发无线抄表终端、对讲机、手持POS等物联网通讯设备。N58模块提供电源、控制、通信、外设、音频、显示、射频等接口,满足客户不同应用场景的功能需求。
N58模块主要包含以下功能单元:
⚫ 基带
⚫ 26MHz晶体
⚫ 电源管理
⚫ 射频部分
⚫ 数字接口(USIM、I2C、SPI、KEYPAD、UART、USB、SDIO等)
⚫ 模拟接口(ADC、AUDIO)
桑尼奇代理有方科技LET Cat.1模组N58,如有需要欢迎联系:肖生QQ:1735477079 手机:18576774167(微信同号)。
评论列表: